Elkay HEWJO.G Parts Breakdown

calcActive())">
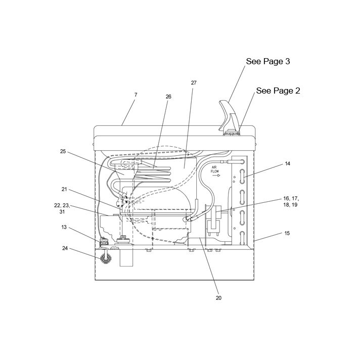
Breakdown for models: HEW1,3JO*2G.
In stock
- SKU
- breakdown-HEWJO.G
More Information
| Manufacturer | Elkay |
|---|---|
| Model # | HEWJO.G |
Write Your Own Review
