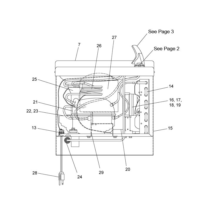
Elkay HEW1.J Parts Breakdown

calcActive())">
Breakdown for model: HEW1*1J
In stock
- SKU
- breakdown-HEW1.J
More Information
| Manufacturer | Elkay |
|---|---|
| Model # | HEW1.J |
Write Your Own Review
