Elkay HEW.G Parts Breakdown

calcActive())">
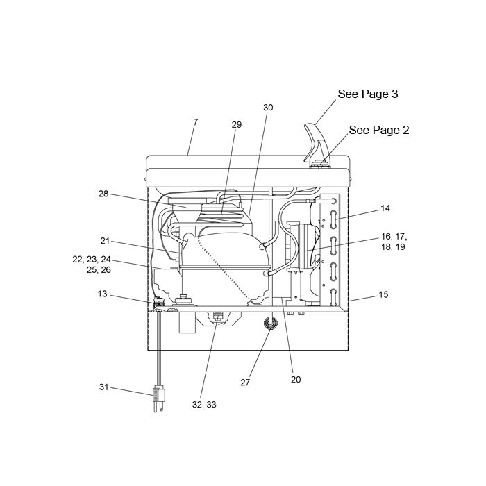
Breakdown for models: HEW1,3*1G, HEW5*1F, WTA1,3*1G, WTA5*1F.
In stock
- SKU
- breakdown-HEW.G
More Information
| Manufacturer | Elkay |
|---|---|
| Model # | HEW.G |
| Manufacturer Part # | HEW.G |
Write Your Own Review
