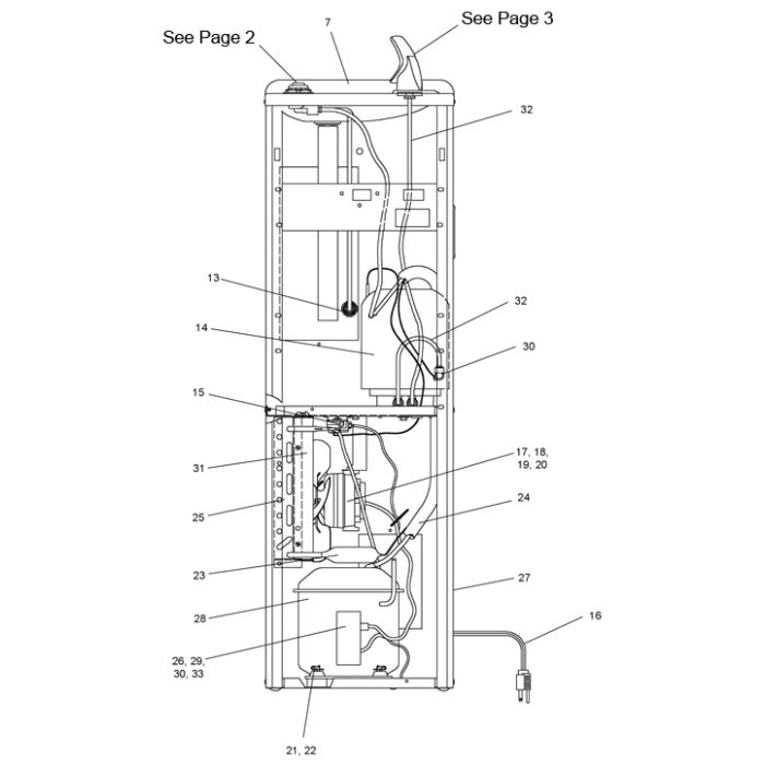
Elkay FD8.F Parts Breakdown

calcActive())">
Breakdown for models: FD700-8*1F, LFDE8*1F.
In stock
- SKU
- breakdown-FD8.F
More Information
| Manufacturer | Elkay |
|---|---|
| Model # | FD8.F |
Write Your Own Review
