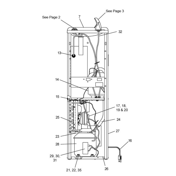
Elkay FD5.F Parts Breakdown

calcActive())">
Breakdown for model: FD7005*1F
In stock
- SKU
- breakdown-FD5.F
More Information
| Manufacturer | Elkay |
|---|---|
| Model # | FD5.F |
Write Your Own Review
