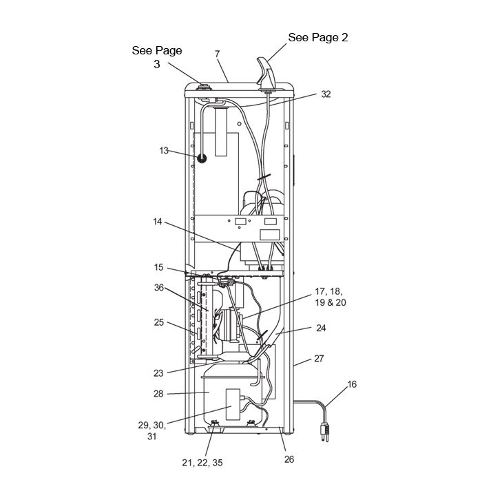
Elkay FD10.F Parts Breakdown

calcActive())">
Breakdown for models: FD700-10-1F, LFDE1-1F.
In stock
- SKU
- breakdown-FD10.F
More Information
| Manufacturer | Elkay |
|---|---|
| Model # | FD10.F |
Write Your Own Review
