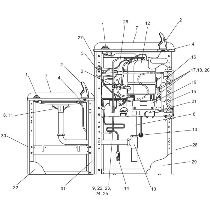
Elkay EWTLA Dual Station Drinking Fountain Parts Breakdown

calcActive())">
In stock
- SKU
- B100216
More Information
| Manufacturer | Elkay |
|---|---|
| Model # | EWTLA |
| Manufacturer Part # | EWTLA |
| Freeze Resistant | No |
| Gooseneck Glass Filler | None |
Write Your Own Review
