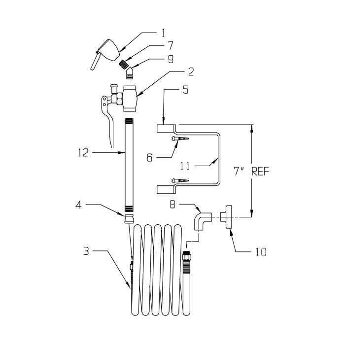
Speakman SE-925 Drench Hose Parts Breakdown

calcActive())">
In stock
- SKU
- breakdown-SE-925
More Information
| Manufacturer | Speakman |
|---|---|
| Model # | SE-925 |
Write Your Own Review
