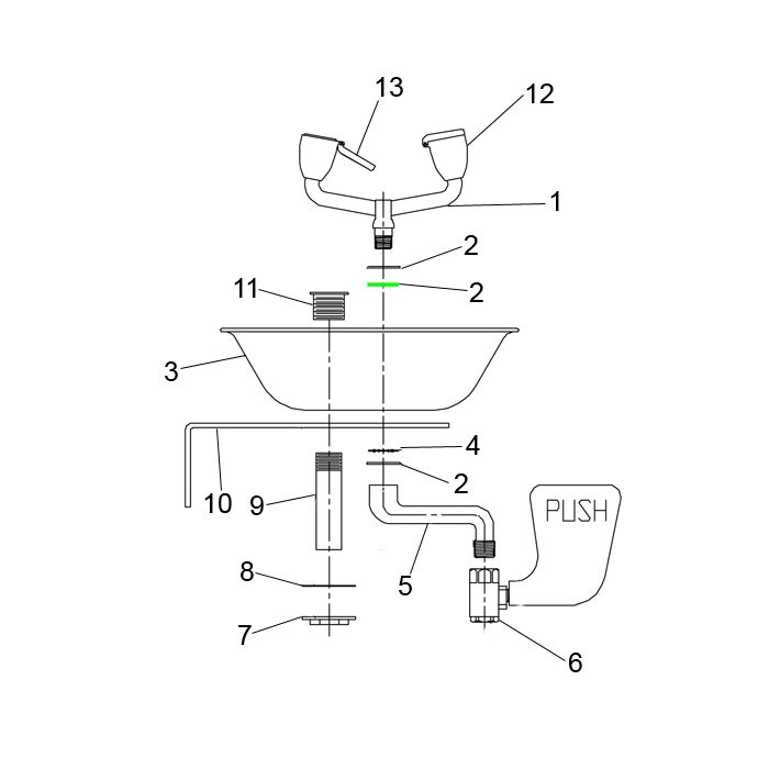
Speakman SE-490 Eye/Face Wash Parts Breakdown

calcActive())">
In stock
- SKU
- breakdown-SE-490
More Information
| Manufacturer | Speakman |
|---|---|
| Model # | SE-490 |
Write Your Own Review
