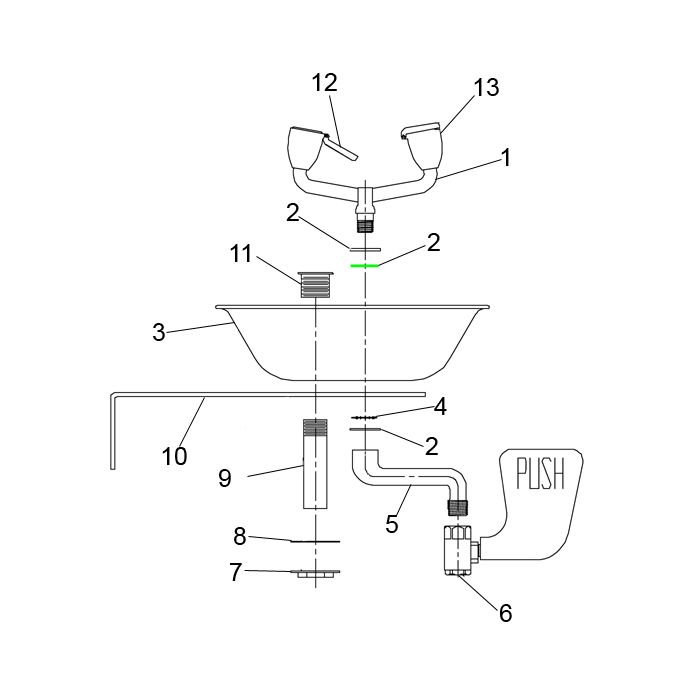
Speakman SE-490-ADA Eye-Face Wash Parts Breakdown

calcActive())">
In stock
- SKU
- breakdown-SE-490-ADA
More Information
| Manufacturer | Speakman |
|---|---|
| Model # | SE-490-ADA |
Write Your Own Review
