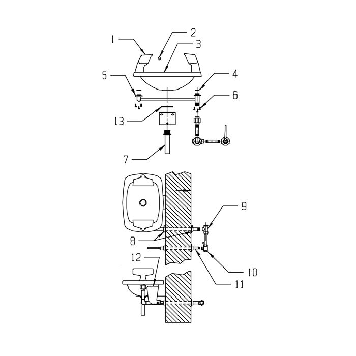
Speakman SE-404 Eye/Face Wash Parts Breakdown

calcActive())">
In stock
- SKU
- breakdown-SE-404
More Information
| Manufacturer | Speakman |
|---|---|
| Model # | SE-404 |
Write Your Own Review
