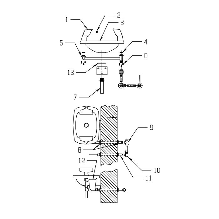
Speakman SE-403 Eye/Face Wash Parts Breakdown

calcActive())">
In stock
- SKU
- breakdown-SE-403
More Information
| Manufacturer | Speakman |
|---|---|
| Model # | SE-403 |
Write Your Own Review
