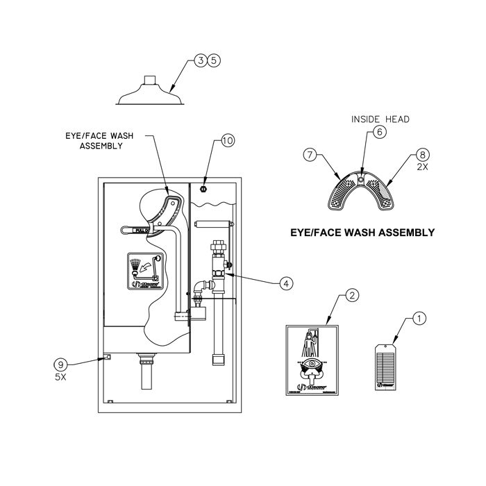
Haws 8356WC Recessed Parts Breakdown

calcActive())">
In stock
- SKU
- breakdown-8356WC
More Information
| Manufacturer | Haws |
|---|---|
| Model # | 8356WC |
Write Your Own Review
