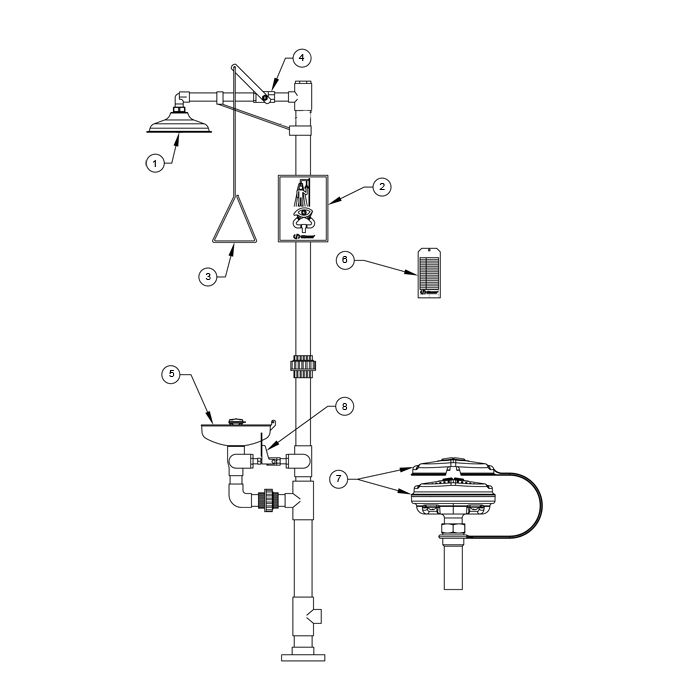
Haws 8336 Combo Parts Breakdown

calcActive())">
In stock
- SKU
- breakdown-8336
More Information
| Manufacturer | Haws |
|---|---|
| Model # | 8336 |
Write Your Own Review
