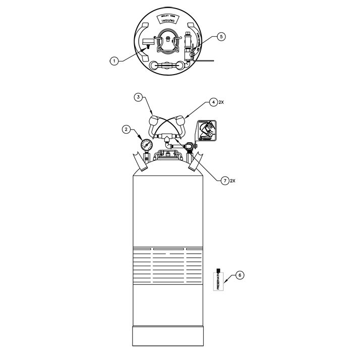
Haws 7602.15 Portable Eyewash Parts Breakdown

calcActive())">
In stock
- SKU
- breakdown-7602.15
More Information
| Manufacturer | Haws |
|---|---|
| Model # | 7602.15 |
Write Your Own Review
