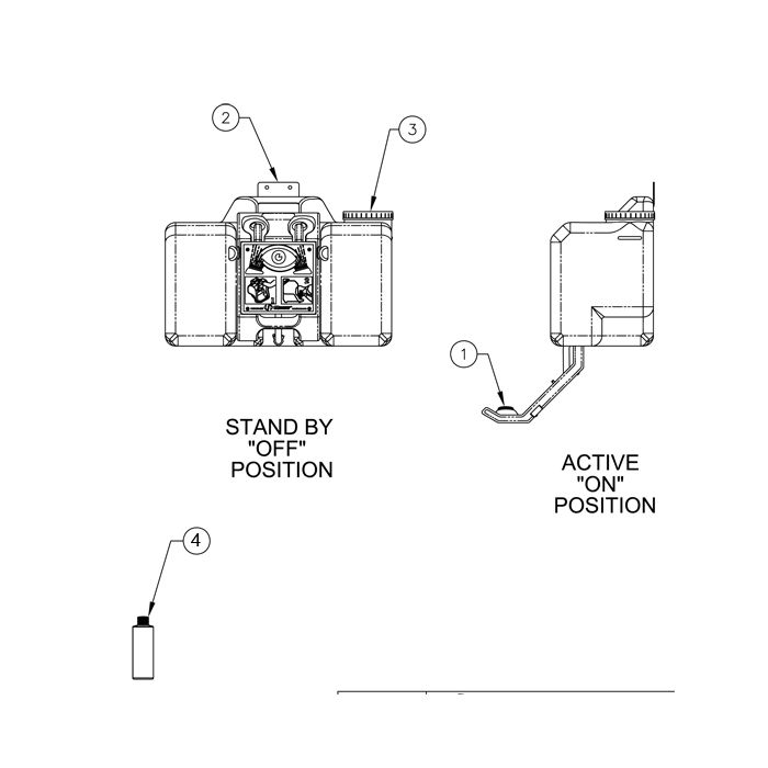
Haws 7501 Portable Eyewash Parts Breakdown

calcActive())">
In stock
- SKU
- breakdown-7501
More Information
| Manufacturer | Haws |
|---|---|
| Model # | 7501 |
Write Your Own Review
